- 聯系我們

聯系電話:0571-86198618手機: 18058734169 (微信同)手機:18868735317(微信同)周一至周日 8:00~22:00
在線客服周一至周日 8:00~22:00
引言:《醫療器械生產監督管理辦法》的規定,開辦第二類、第三類醫療器械生產企業的,應當向所在地省、自治區、直轄市藥品監督管理部門申請生產許可,第一類醫療器械生產企業辦理備案。在此為大家講解三類醫療器械注冊流程和要求。
一、三類醫療器械注冊向哪里申報:
國家規定,三類醫療器械注冊由國家局受理和審批;二類醫療器械有各省藥監局受理并審批。PS:從各種渠道已有消息透出,二類醫療器械的注冊未來可能由國家局受理、審批,但暫未看到明文的政策發布。
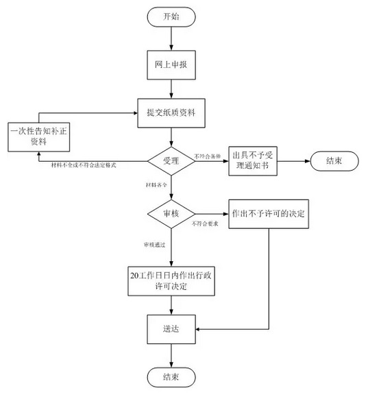
二、三類醫療器械注冊一般流程:
三類醫療器械注冊流程如下:

三、三類醫療器械注冊申報資料:
(一)《醫療器械生產企業開辦申請表》(原件)(包含委托書及被委托人身份證復印件, 以及申請材料真實性的保證聲明)。
(二)營業執照復印件。
(三)申請企業持有的所生產醫療器械注冊證及產品技術要求復印件。
(四)法定代表人、企業負責人身份證明復印件;企業負責人任命文件的復印件;生產管理、質量檢驗崗位從業人員學歷、職稱一覽表。
(五)生產、質量和技術部門負責人的身份、學歷、職稱證明和工作簡歷(復印件)。
(六)擬生產產品范圍、品種和相關產品簡介(產品簡介至少包括對產品的結構組成、原理、預期用途的說明及產品標準)。
(七)生產場地的證明文件,有特殊生產環境要求的還應當提交設施、環境的證明文件復印件;一般包含房屋產權證明或租賃協議及出租方房產證明復印件、廠區總平面圖、主要生產車間平面圖。
(八)主要生產設備和檢驗儀器清單(原件)。
(九)質量手冊和程序文件(原件)。
(十)工藝流程圖(原件)。
(十一)生產企業自查表(原件)。
(十二)其他證明資料。
注:其他依據各地藥監局的具體規定準備。
四、醫療器械生產許可證圖示:

杭州證標客醫藥技術咨詢有限公司位于中國杭州,是醫療器械專業服務第三方。為廣大客戶提供醫療器械法律法規、經營開辦、醫療器械生產質量管理體系、醫療器械注冊、臨床、CRC、CE、FDA、醫療信息系統定制開發一站式服務,是江浙滬地區極少數有醫療器械全流程服務能力的機構之一。任何有關醫療器械注冊、醫療器械經營許可/備案、醫療器械臨床試驗、CRC服務事宜,隨時方便聯系葉工(MP:18058734169,微信同)。